
文章插图
2018年9月,悠纯牧业官方微信发布的文章中对创始人劳兵的介绍 。图/企业官方微信截图
文章还称,由于没有正规产品许可,劳兵认养奶牛的事情停了7年,直到2015年在新疆认养了一座牧场 。此后,劳兵组建了一个5人的奶源考察团,有了“认养”新疆牧场、牦牛奶、水牛奶系列,并称要将认养牧场的版图不断扩大 。截至2018年7月,悠纯牧业“味道”系列产品单店日销量1万杯,“认养牧场”销量以每个月10%的速度递增 。2019年3月,悠纯牧业又在官微发布“认养1000头牛娟姗牛在新疆”的纯牛奶产品信息 。
新京报采访人员注意到,悠纯牧业2016年、2017年主打的是“不一样的好酸奶”概念,官微展示的相关产品没有出现“认养”相关标识 。直到2018年上述文章出现后,“认养”概念开始被悠纯经常提及 。如今在电商平台,同时存在“悠纯食品旗舰店”和“认养旗舰店”,两家店铺均销售悠纯牧业“认养”系列产品 。在“认养旗舰店”除一款水牛奶外,所售乳品包装都打上了“认养”标识 。在淘宝平台搜索“认养”,也会同时出现“认养悠纯”“认养一头牛”两家品牌相关链接 。
据一位乳业知情人士了解,“认养”概念最早是劳兵的创意,后来由“认养一头牛”公司使用并注册了相关商标 。不过从品牌知名度和销售情况看,悠纯“认养”无法与“认养一头牛”相比,“有点蹭‘认养一头牛’的热度 。”
上市辅导备案文件及官方信息显示,互联网乳制品品牌认养一头牛控股集团设立于2014年,2016年正式成立“认养一头牛”品牌 。2020年“双11”期间,“认养一头牛”在乳品行业品牌旗舰店销量排名第一 。
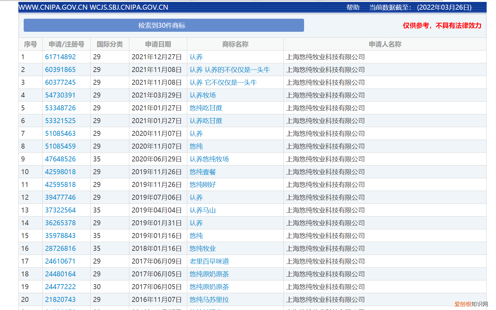
另据中国商标网查询结果,悠纯牧业早在2015年4月就申请注册第29类(注册范围包含牛奶、酸奶等)“认养”商标,但未成功 。2019年、2020年、2021年,悠纯牧业均对第29类“认养”商标进行注册申请,其中“认养”文字+圆圈图文商标于2019年7月申请注册,使用期限为2020年3月至2030年3月 。2021年,悠纯牧业又申请了第29类“认养 认养的不仅仅是一头牛”“认养 它不仅仅是一头牛”等商标,目前均处于等待实质审查阶段 。

文章插图
悠纯牧业申请的众多商标 。图/中国商标网截屏
另一方面,杭州认养一头牛生物科技有限公司自2016年开始申请注册第29类“认养一头牛”相关商标,2018年8月申请注册的第29类“认养1头牛COW”商标获批,使用期限为2019年9月7日至2029年9月6日 。此外,该公司及其关联方还对“认养一头牛”相关商标进行了大量注册 。
针对悠纯牧业“认养”系列宣传及产品,认养一头牛方面3月25日回应新京报采访人员称,目前在商标注册上,“认养一头牛”为杭州认养一头牛生物科技有限公司有效注册商标 。“我们非常重视品牌保护工作,你提出的这个问题我们后续会进行内部讨论 。”
悠纯牧业创始人劳兵则在3月28日回应新京报采访人员称,“认养”是悠纯牧业旗下品牌,2014年向国家知识产权局申请注册,2016年获得注册证 。对于悠纯“认养”与“认养一头牛”两个品牌的商标使用是否有冲突,劳兵称两品牌“有着不同定位” 。
自有牧场工厂情况成谜
除“认养”宣传具有争议外,悠纯牧业实际掌握的自有牧场、工厂情况也成谜 。
上述知情人士认为,悠纯牧业所谓的“认养牧场”实质上就是合作牧场的意思,这一模式与伊利、蒙牛等大型乳企采取的合作牧场模式并没有本质不同 。
推荐阅读
- 不只有小怪兽的FENDI腕表
- 实测:巅峰对决!
- 出街必备!迪奥经典款包包
- “黑威雀”的不同版本
- 步步惊心玉檀对若曦是真心的吗?
- 同济大学嘉定校区
- 衣服缩水怎么办?
- 儿童手工制作大全 简单(手工课作业都齐了,益智还有趣)
- 暖色包包大推荐
