据TOFEL托福考试官方微信公众号9月23日消息,新一年的托福iBT线下考位于9月28日上午10点开放 。官网也公布了2023年的92场考试安排 。留学君提醒各位有需求的小伙伴及时注册报名,并做好备考规划 。
01
托福考试报名步骤
S1注册账号

文章插图
图源:https://toefl.neea.cn/
进入 NEEA 托福考试报名官网:toefl.neea.cn,点击右下角“注册新用户” 。若注册过,则直接点击右下角“登录” 。
填写注册信息,包括身份、证件、背景、安全信息等基本资料 。待所填信息确认无误后,教育部考试中心报名系统会分配一个NEEA ID 。
成功注册之后,系统将会发送一封电子确认邮件,注意查收 。
在进行这一步的过程中,要确保信息填写的真实性和准确性 。因为如中英文姓名/拼音姓名、性别、生日、出生地、母语、证件类型、证件所属国家、证件号码,将会显示在成绩报告上,且一旦提交无法修改 。
↓
S2激活账号
输入NEEA ID/邮箱、密码、验证码登录进入“我的托福?主页” 。首次登录的新用户会收到一封电子验证邮件 。
邮箱验证完成后,在主页点击“下一步”,系统将提示发送验证码至注册手机号,进一步完成短信验证 。若曾注册过,在长期未登录情况下再次登录仍需完成以上双重验证,以激活账号 。
↓
S3注册考试、提交报名表
激活账号之后,系统会生成一个ETS ID 。至此便可查询考位、注册考试 。
点击主页左侧“考位查询”,选择“考点所在城市”及“考试日期”,可筛选满足条件的考场剩余考位情况 。若最右侧的“考位”一栏显示“有名额”,便可在支付报名费后,报名该场托福考试 。
注:在 NEEA 托福考试报名官网中,无需预存考试费,可免费查看考位情况 。
考试费用进入个人账号之后,点击主页左侧“注册考试”,选择理想考点及考试日期并点击“立即预定”按钮 。
之后屏幕会显示注册考试的详细信息,包括考试名称、考试日期和时间、考场名称和考场地址 。若确认以上信息都正确无误,可以点击“提交”按钮,网站会引导前往“填写报名表”的页面 。
按照实际情况如实填写报名表信息及背景调查信息,确认无误后点击“提交报名表” 。网站会提示即将扣除考试费,如果确认所有报考信息均准确无误后,点击“确认支付考费”,在二次确认后,系统将扣除托福账户余额中的考试费 。
至此报名成功,之后可在“我的托福主页”“查看已注册信息”查询自己注册成功的考试,下载打印考试确认信 。
02
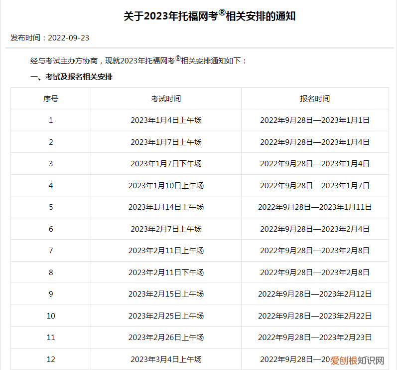
关于2023年托福网考?相关安排的通知

文章插图

文章插图

文章插图

文章插图

文章插图

文章插图
图源:https://toefl.neea.cn/
03
各考点疫情防控期间入校/入场要求

文章插图
图源:https://toefl.neea.cn/完整链接:
推荐阅读
- 网友建议在东航飞机失事地点建立纪念碑 广西藤县回应
- 电视机有声音没图像是什么原因
- wdj是什么意思
- 年报发布当晚,小鹏汽车浓烟四起“自燃”烧毁!官方紧急回应
- 《穷人》的作者是谁
- 胶囊宾馆
- 股票怎么参与中签 新股中签后如何操作
- 田老师红烧肉
- 紧身泳衣
